计量论坛

 找回密码
 立即注册

QQ登录

只需一步,快速开始

搜索

[工程参量] 新手求教:平面的平面度和面轮廓度

[复制链接]
susia 发表于 2010-10-19 17:14:31 | 显示全部楼层 |阅读模式
最近接到一个零件需要用三座标测试。

令我非常不解的是:其中一个平面(由几个小平面组成)不仅有平面度要求,还有面轮廓度要求。对一个平面来讲,平面度和面轮廓度有什么区别呢?
AXE8431 发表于 2010-10-20 19:29:23 | 显示全部楼层
提示: 作者被禁止或删除 内容自动屏蔽
yj407 发表于 2010-10-20 21:05:27 | 显示全部楼层
平面度没有基准,轮廓度可以带基准也可以不带基准。
不带基准的平面轮廓度与该平面的平面度的公差带是相同的,两者的值也是相等。
带基准的平面轮廓度则要要据基准及相关的理论正确值来分析了,一两句话是说不清的。请楼主最好发个图上来吧
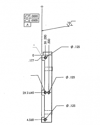
 楼主| susia 发表于 2010-10-21 08:44:46 | 显示全部楼层
谢谢版主回复。上传了侧面图,基准面是最上面的小平面。
侧面图.jpg
yj407 发表于 2010-10-21 20:59:40 | 显示全部楼层
这个没有基准的轮廓度和平面度控制的结果是一样的。这个图纸这样设计是有问题的。
 楼主| susia 发表于 2010-10-22 13:55:09 | 显示全部楼层
谢谢斑竹解惑!
GPS 发表于 2010-10-24 18:18:14 | 显示全部楼层
其实平面度、圆度、圆柱度、球度、直线度都是轮廓度的一种特例,只是理论的要素不同而已。
tjjlzy 发表于 2010-11-8 20:30:14 | 显示全部楼层
统一楼上说的
您需要登录后才可以回帖 登录 | 立即注册

本版积分规则

小黑屋|Archiver|计量论坛 ( 闽ICP备06005787号-1—304所 )
电话:0592-5613810 QQ:473647 微信:gfjlbbs闽公网安备 35020602000072号

GMT+8, 2025-10-21 12:18

Powered by Discuz! X3.4

Copyright © 2001-2023, Tencent Cloud.

快速回复 返回顶部 返回列表