找回密码
 立即注册

QQ登录

只需一步,快速开始

搜索

[螺纹/齿轮] 请教——如何用通用计量器具检测内锥孔直径?

[复制链接]
jlltzc 发表于 2009-3-9 16:22:00 | 显示全部楼层 |阅读模式
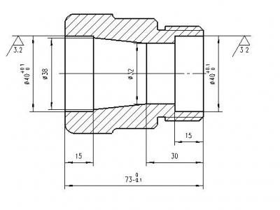
请教各位:如何检测下图中内锥大端直径38,谢谢!
123123.JPG
duomeiti 发表于 2009-3-9 22:32:45 | 显示全部楼层
用内径千分尺测量。
回复 支持 反对

使用道具 举报

WWCCJJ 发表于 2009-3-10 08:49:36 | 显示全部楼层
有一种测量量爪加长的数显或者游标内沟槽卡尺,好像是广陆产的.
还有一种电子内径卡规.
回复 支持 反对

使用道具 举报

 楼主| jlltzc 发表于 2009-3-10 22:53:06 | 显示全部楼层
谢谢回答!
但是我觉得用内经千分尺测量38的那个內锥大端直径的时候,如何确定测量的位置呢?会不会很不准确呢?盼望能有更详细的答案,谢谢!
回复 支持 反对

使用道具 举报

lyshlysh 发表于 2009-3-12 15:27:13 | 显示全部楼层

回复 2# duomeiti 的帖子

内经千分尺的下限是50,不能测量38的内径。用35-50的内经百分表试试。
回复 支持 反对

使用道具 举报

lyshlysh 发表于 2009-3-12 15:36:15 | 显示全部楼层

回复 1# jlltzc 的帖子

用20-40三爪内径千分尺试试。
回复 支持 反对

使用道具 举报

Lishu 发表于 2009-3-12 18:28:33 | 显示全部楼层
不知道你这个公差要求是多少?公差大的话直接用卡尺内量爪测一下就行了。用通用量具测量时都存在无法找准测量位置的问题。不知道用工具显微镜能不能测的到,可以试试。
回复 支持 反对

使用道具 举报

规矩湾锦苑 发表于 2009-3-12 19:04:07 | 显示全部楼层
由于被测尺寸Φ38是内锥孔的大端直径,且前面还有一个厚15mm的Φ40内孔影响我们的视线,所有的接触测量方法,卡尺也好,内径千分尺也好,三爪内径千分尺和电子内径卡规也好,都不能准确确定测量的截面位置就是大端直径所处的截面位置,因此测量误差较大,甚至令我们无法承受。我觉得比较好的方法还是非接触测量方法,利用反射照明,调整仪器物镜焦距,使大端直径截面影像清楚地显示在视场中,再测量直径。我认为,目前可供选择的测量设备有万能工具显微镜、投影仪、CCD二维测量仪、带有非接触测量系统的三坐标测量机等都可以完成测量任务。
回复 支持 反对

使用道具 举报

xiaohuihu 发表于 2009-3-12 20:38:23 | 显示全部楼层
万能工具显微镜可行
回复 支持 反对

使用道具 举报

duomeiti 发表于 2009-3-12 22:09:39 | 显示全部楼层

回复 9# xiaohuihu 的帖子

放不开。
回复 支持 反对

使用道具 举报

WWCCJJ 发表于 2009-3-17 09:49:26 | 显示全部楼层

回复 10# duomeiti 的帖子

?
如8#所说,反射是可以测量.
回复 支持 反对

使用道具 举报

yj407 发表于 2009-3-25 16:27:31 | 显示全部楼层
最省事的方法是用三座标测测量机测了。这是个平面与圆椎相交的直径,用1mm的测针就测就行了。用影像法也可行,但这是交点尺寸,实测时可能会受到加工倒角与毛刺的影响。
当然,如果一定要用通用量具的话,我建议用钢球打表法去测了。即找两个一个小于38mm和另一个大于32mm的钢球,先将工件以锥面之大圆向上置于平台之上,将钢球放入锥体内,用量测分别测出钢球的顶点到上表面的距离。分别定a1、a2(a1>a2)。上表面到与圆锥相交的平面的距离(即图面标注这15的这个尺寸)应该也不难测出来。这样测出第三个距离尺寸 a3,设钢球的半径分别为r1,r2(r1>r2)。用如下公式计算大端直径D:
D=2*{a3-(a1-r1)+r1*[(a1-r1)-(a2-r2)]/(r1-r2)}*tg(arcsin{(r1-r2)/[(a1-r1)-(a2-r2)]}
回复 支持 反对

使用道具 举报

szautumn 发表于 2009-3-26 12:03:13 | 显示全部楼层
锥孔测量规:
测头根据实际被测工件的角度及深度定制, 使用可以调节乘法因子的数显表.
使用方法:
根据工件图纸计算出轴向移动行程与孔径的比例关系, 得到乘法因子, 输入数显表.
当测头放入锥孔时, 数显表测杆移动, 数显表将测杆的轴向移动乘以输入的乘法因子, 由此, 屏幕直接显示出对应的孔径.

例:
锥孔角度为90度, 测量深度为3mm, 测量锥孔端面直径.
端面半径/轴向深度=tan45°,
锥孔端面直径=2x[轴向深度x(tan45°)]
由此得出对应乘法因子=2
向数显表输入乘法因子F=2
数显表屏幕直接显示计算后所得的锥孔端面直径.

目前市场上可以设定乘法因子的数显表有很多, 主要有德国马尔,日本三丰
回复 支持 反对

使用道具 举报

吟游路人 发表于 2009-4-1 11:57:42 | 显示全部楼层
把产品的锥度转换出来,做一个锥度塞规, 然后测平面之间的轴向尺寸就行了,要做测量基准的面工艺上标个公差,不超出检测误差就行了。

实际测的尺寸为 X - 15( 考虑15处轴向公差和38径向公差转换而来的公差,只要公差带不超出就行)

[ 本帖最后由 吟游路人 于 2009-4-1 12:02 编辑 ]
锥度塞规.jpg
回复 支持 反对

使用道具 举报

 楼主| jlltzc 发表于 2009-4-22 15:29:49 | 显示全部楼层
谢谢各位的回答!看来用万能工具显微镜比较好!但是“反射照明”如何实现,我还要去研究一下!再次谢谢各位的帮助!
回复 支持 反对

使用道具 举报

dovehu 发表于 2009-10-28 10:56:18 | 显示全部楼层
内径千分尺之类的肯定是不能用来测内锥的。2.5次元,工具显微镜之类的非接触的可以测。前提是能投出大锥的外径的。三次元以大锥配合角度可以测出来
回复 支持 反对

使用道具 举报

pandeyang 发表于 2009-10-30 16:20:47 | 显示全部楼层
用三坐标测出40的直径,然后用轮廓仪测出38与40的高度差,40-2倍的高度差就ok了
回复 支持 反对

使用道具 举报

yuaidongtaba 发表于 2010-1-21 16:52:22 | 显示全部楼层
用轮廓仪测量出斜边长度和角度在进行三角计算。
回复 支持 反对

使用道具 举报

您需要登录后才可以回帖 登录 | 立即注册

本版积分规则

Archiver|手机版|小黑屋|计量论坛 ( 闽ICP备06005787号-1|闽公网安备35020602000072号 )
电话:0592-5613810 QQ:473647 微信:gfjlbbs 原国防计量论坛(-=始于2005年=-)

GMT+8, 2026-4-4 11:24

Powered by Discuz! X3.5

© 2001-2026 Discuz! Team.

快速回复 返回顶部 返回列表